管家婆快马数字订货商城:重构B2B营销交易场景
在 B2B 商业领域,订货环节作为连接企业与下游客户的核心枢纽,其效率与体验直接影响着客户满意度与复购率。当下,传统订货模式中电话沟通、微信接单、线下单据流转等操作方式,正让经销商陷入 “沟通成本高、价格体系混乱、流程易出错、数据难追踪” 的多重困境。

快马数字B2B订货商城6的应用能力概念图
快马数字订货商城以 “智能化、场景化、数据化” 为核心,通过全链路交易流程的数字化重构,为经销商提供了从 “人工粗放管理” 向 “智能精细运营” 转型的可行路径。今天我们从痛点解析、功能破局、场景落地三个维度,深度拆解快马数字化订货系统如何成为经销商提升运营效率的关键引擎。
传统订货模式的四大核心痛点
效率与管理的双重桎梏
1. 找货下单:信息不对称导致的效率低下

传统模式下,客户找货依赖业务员人工对接,服装经销商需通过微信反复沟通尺码颜色组合,五金建材采购商要电话确认包装规格,一次常规订货往往需要 3-5 次沟通才能确认需求。某快消品经销商曾统计,客户平均找货时间长达 8 分钟,且 20% 的订单因规格描述不清导致售后纠纷。线下单据流转更让订单处理陷入 “人工录入 - 审核 - 备货” 的冗长链条,高峰期甚至常常出现订单积压。
2. 价格与库存:动态适配能力的缺失

多级经销商体系下,价格政策执行混乱成为普遍问题:核心客户的折扣优惠难以精准落实,区域市场的竞争定价缺乏系统支撑,新客户首单优惠容易遗漏。库存管理则因 ERP 系统与线下库存不同步,"下单无货" 现象频发,被动的补货机制导致库存积压与缺货并存,资金周转效率低下。
3. 营销与服务:经验驱动能效有限

传统营销依赖经验凭主观判断:沉睡客户缺乏精准唤醒手段,新品推广效率低下,促销活动难以量化效果。服务环节更因信息不透明陷入被动:客户查询物流需反复致电,售后进度不清晰,客服人力大量消耗在基础咨询上,难以提供增值服务。
4. 数据与决策:碎片化信息导致管理盲区

订单数据、库存数据、客户行为数据分散在不同系统,财务对账依赖人工核对,经营决策缺乏实时数据支撑:热销商品趋势无法及时追踪,库存预警依赖人工巡检,客户流失风险难以及时识别,企业陷入 "经验决策" 的盲目状态。
数字化订货系统的破局路径
从功能重构到场景落地
1
智能商品管理
让 “找货下单” 进入分钟级时代
①.多维度商品展示体系


快马商城不同下单展示界面局部截图
快马订货商城打破传统静态展示模式,为快消、五金建材、服装等不同行业提供定制化商品呈现方案:服装品类支持 “尺码 - 颜色” 橱窗式组合展示,客户可直接勾选 L 码黑色 T 恤加入购物车;五金建材则以 “包装规格 - 技术参数” 列表呈现,搭配视频演示讲解储存要求。快捷筛选功能支持按 “价格区间、销量排行、新品上架” 多维度快速选择,某商超客户实测显示,找货时间从 8 分钟缩短至 1.5 分钟,下单效率提升 40%。
②.动态库存与多规格管理

快马数字库存状况表局部截图
系统对接 ERP/WMS 实现库存数据实时同步,清晰显示各仓库库存数量、占用量及可发货量,有效减少 "下单无货" 现象。针对多规格商品提供组合列表式展示,客户可直接勾选所需规格加入购物车,大幅提升下单效率与准确性。
2
便捷下单体验
从“人工沟通”到“自助智能”
①.多场景下单方式:适配不同客户的 “操作习惯”


快马商城客户一键复购和套餐下单界面局部截图
· 自助下单:通过 APP / 小程序 / PC 各终端为客户提供 "常购清单" 一键复购、Excel 批量导入下单、套餐下单等功能,满足不同客户操作习惯,大幅减少人工沟通成本。
· 代客下单:业务员通过 SFA 模块为客户远程下单,系统自动匹配专属价格与促销政策,订单信息同步至商城与 ERP 系统,形成 "拜访 - 开单 - 履约" 的闭环流程。
②.智能价格与促销体系:“一客一价” 的精准落地


快马数字商品价格系统和营销活动自动结算局部截图
建立 "通用售价 + 客户等级价 + 区域专属价 + 临时促销价" 的多层定价机制,企业可根据客户采购规模、合作年限、区域市场等因素灵活配置价格策略,实现 "一客一价" 的精准匹配。促销活动自动关联订单,系统实时检测优惠条件并计算折扣金额,提升促销政策的执行效率。
③.多元化支付与自动结算:资金流转更高效

快马数字支付方式配置界面局部截图
集成多种线上线下支付方式,满足不同客户的结算习惯,同时支持授信支付、预存款等功能,增强客户资金粘性。对接在线支付系统实现订单自动分账与电子对账,大幅简化财务结算流程,提升资金管理效率。
3
营销与服务升级
从“交易关系”到“价值伙伴”的跃迁
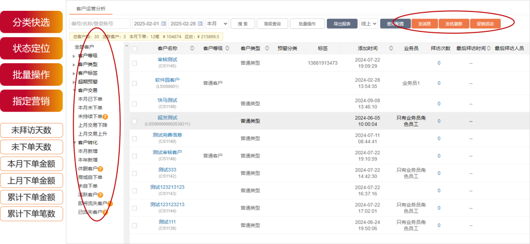
①.精准营销:了解客户,盘活客户

快马数字客户运营分析表局部截图
· 客户分层运营:通过 “高潜力新客、沉睡老客、区域 TOP 客户” 标签定向推送活动,某饮料经销商向 “未下单超 30 天” 客户推送唤醒券,激活 30% 休眠客户,月销售额增长 18%。

快马数字营销功能局部界面截图
· 场景化营销工具:支持预售、团购、裂变分销等 20 + 玩法,某家电品牌通过 “新品预售” 提前锁单,铺货周期从 45 天缩短至 15 天,渠道渗透率提升 20%。
②.全流程服务追踪:客户体验更好


快马数字客户个人中心应用局部界面截图
客户可实时查询订单状态、物流轨迹及售后进度,减少咨询成本。构建积分与预存款体系,通过积分兑换商品或优惠券、预存款享受额外折扣等方式,增强客户粘性与资金留存率,深化合作关系。
4
数据驱动决策
从“经验主义”到“数据智能”的转型
①.商品运营分析:商品与营销的 “优化引擎”

快马数字商品运营分析局部界面截图
通过追踪客户浏览、搜索、加购等行为数据,生成热销商品排行与购物车转化分析,为商品陈列、库存调整、营销推广提供数据支撑,优化商品运营策略。
②.经营数据看板:科学决策的 “数字大脑”


快马数字客情预警和库存预警局部界面截图
建立多维度销售趋势分析模型,支持按品类、品牌、区域等维度查看经营实况,辅助企业识别高价值产品与市场机会。设置库存上下限、欠款超期、客户流失等风险预警机制,系统自动推送预警信息,帮助企业降低运营风险。
数字化转型的底层逻辑
从 “工具应用” 到 “能力重构”
快马订货商城的价值,本质在于通过数字化手段重构 B2B 交易的 “四流” 体系:商品流上实现多规格动态管理,资金流上打通多元支付与自动分账,信息流上打破数据孤岛实现实时同步,商流上通过智能营销提升交易效率。对经销商而言,这不仅是 “订货线上化” 的工具升级,更是从 “粗放经营” 到 “数据驱动” 的能力转型 —— 当订货环节从 “成本中心” 转变为 “价值中心”,企业才能真正实现客户体验与经营效率的双重提升。

在 B2B 数字化加速的当下,经销商的转型突破口往往藏在最基础的业务环节。订货系统的智能化升级,看似解决的是 “找货、下单、支付” 的效率问题,实则构建的是 “客户连接、数据沉淀、决策支撑” 的核心竞争力。
管家婆软件授权代理商【哲凡软件-数字化升级转型】
服务热线:151 9008 1222(微信同号)
客服QQ :381907033、728033598
分支机构:江苏、上海、浙江、福建、安徽、湖北、湖南、河南、广东、深圳等
